motorram.com
HOME INFO SPORTS JAUNUMI VISS KAUT KAS TEGI

Dzinēja eļļas līmeņa pārbaude


Norādījumi:
-Dzinēja eļļas temperatūrai jābūt vismaz 60 °C.
-Automobilis atrodas horizontālā stāvoklī.
-Pēc dzinēja izslēgšanas pagaidīt dažas minūtes, lai eļļa satek karterī.
-Izvilkt eļļas mērstieni, noslaucīt to. Pēc tam mērstieni ievietot atpakaļ.
-Atkal izvilkt mērstieni un noteikt eļļas līmeni.


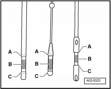
Atzīmes uz eļļas mērstieņa:
a-pieliešana nav vajadzīga.
b-eļļas līmenis atbilst normai, bet var mazliet pieliet.
c-eļļas līmenis ir zems, jāpielej.
Eļļas līmenis nedrīkst pārsniegt atzīmi-a.
Eļļas līmenis nedrīkst būt zemāks par arzīmi-c.
Eļļas līmenis ir normā, ja atrodas rievotās daļas robežās.

Regulāri kontrolējiet sava auto motora eļļas līmeni!

motorram.com


motorram.com
motorram.com